QuelleRunderlaß Schutzraumbau ohne Stahl
RdErl. d. RMdLu.ObdL v. 1.6.37 ZL 5 c 9268/37
Betrifft: Schutzraumbau ohne StahlDie Verknappung gewisser Baustoffe, insbesondere von Stahl, muß auch auf dem Gebiet des Schutzraumbaues berücksichtigt werden. Wie nachstehend dargelegt wird, können Schutzräume aller Art, Schutzräume in vorhandenen Gebäuden und Schutzräume in Neubauten in stahlarmen Bauweisen oder ganz ohne Verwendung von Stahl errichtet werden, ohne daß dadurch die notwendige Widerstandfähigkeit der Schutzräume beeinträchtigt wird. Auf Schutzräume als Sonderbauten können die Ausführungen sinngemäß Anwendung finden.
Auch in Zeiten vorübergehender Verknappung einiger Baustoffe kann daher der Bau von Schutzräumen, der aus Gründen der Luftverteidigung mit stärkstem Nachdruck zu betreiben ist, vorgenommen werden.
Die technischen Grundlagen für den Bau von Schutzräumen innerhalb von Gebäuden sind in der Ersten Ausführungsbestimmung zum §1 der Zweiten Durchführungsverordnung zum Luftschutzgesetz vom 4. Mai 1937, RGBl. I S.568 (Schutzraumbestimmungen), enthalten. Schon in diesen Bestimmungen wird die Rohstofflage insofern berücksichtigt, als die bisher gültigen Belastungsannahmen für Schutzraumdecken wesentlich herabgesetzt worden sind, so daß Baustoffe eingespart werden können.
Als weitere Maßnahme für die Einsparung und Vermeidung knapper Rohstoffe können Bauweisen angewandt werden, die insbesondere den Rohstoff Stahl entbehrlich machen unter vermehrter Verwendung einheimischer Baustoffe wie Mauerziegel, Kalk, Zement, Kies, Splitt.
Sofern für Schutzraumbauten der Baustoff Stahl in dem nötigen Umfang zur Verfügung steht, wird die Ausführung der Schutzräume am zweckmäßigsten in den bisher üblichen Bauweisen erfolgen. Steht Stahl nicht oder nur in beschränktem Umfange zur Verfügung, müssen die Schutzräume stahlarm oder stahllos durchgebildet werden.
Da der Stahl bei den üblichen Bauweisen meist die Aufgabe erfüllt, die inneren Zugspannungen aufzunehmen, müssen die stahlfreien oder stahlarmen Schutzraumbauweisen so durchgebildet werden, daß größere Zugspannungen überhaupt nicht auftreten.
Es ist ferner zu beachten, daß der stahlarme und stahlfreie Schutzraum in seiner ganzen Konstruktion unbedingt als eine statische Einheit aufgefaßt werden muß. Für die Standsicherheit des Gesamtbauwerkes ist die statische Mitwirkung aller Einzelbauteile unentbehrliche Voraussetzung.
I. Konstruktive Durchbildung stahlarmer und stahlloser Schutzräume
1. Schutzraumdecke
Steht Stahl in geringem Umfang zur Verfügung, so wird die Decke in Eisenbeton ausgebildet, wodurch gegenüber der Anwendung von Stahlträgerdecken eine Eiseneinsparung erzielt wird. In Eisenbetonkonstruktionen kann der Stahlaufwand verkleinert werden:
Muß die Schutzraumdecke ohne Stahl ausgeführt werden, so wird sie als Gewölbe durchgebildet.
- durch Herabsetzung der Stützweiten,
(In einer kreuzweise bewehrten Eisenbetondecke von z.B. 4,5m x 6,0m Grundfläche geht der Eisenbedarf um etwa 25 v.H. zurück, wenn in der Mitte eine Pilzstütze angeordnet wird.)- durch Verwendung dicker Deckenplatten mit niedrigen Betonspannungen,
(In einer einfachen Eisenbetondecke vermindert sich der Eisenbedarf z.B. um 35-40 v.H., wenn die Dicke, die sich aus der höchstzulässigen Betonspannung ergibt, um 75 v.H. erhöht wird.)- die kreuzweise bewehrten Decken verlangen, wenn die Auflager an sich vorhanden sind, in der Regel weniger Bewehrung als einfach bewehrte Decken.
- In Neubauten ist zum Schutzraum ein möglichst schmaler langgestreckter Raum zu wählen, der mit einem Tonnengewölbe einzuwölben ist, das auch bei hoher Belastung nur einen geringen Horizontalschub ausübt (Beispiel Bild 1).
Bei Reihenhäusern kann es sich empfehlen, die Schutzräume paarweise beiderseits der Brandmauer anzuordnen. Steht genügend Raumhöhe für ein Tonnengewölbe nicht zur Verfügung, dann ist die Decke als Kappengewölbe auszubilden (Beispiel Bild 2). Bei gleichmäßig verteilter Last ist das Gewölbe um so tragfähiger und sein waagerechter Schub um so geringer, je größer sein Stich ist. Um genügende Sicherheit auch bei ungleichmäßiger Belastung zu schaffen, sind die Gewölbezwickel in der Nähe der Kämpfer in einer Stärke von mindestens der halben Pfeilhöhe auszumauern oder mit Beton auszufüllen.
Einer besonderen Ausbildung bedürfen die Endkappen, um den waagerechten Schub mit Sicherheit in die Gründung zu übertragen (Beispiel Bild 3).
Steht Stahl in geringem Umfange zur Verfügung, so wird er zweckmäßig für Zuganker bei den Gewölben ausgenutzt.
[Bild 1 (Beispiel eines Schutzraums mit Tonnengewölbe) nicht enthalten]
[Bild 2 (Beispiel für Gewölbe aus Kappen zwischen Gurtbögen) nicht enthalten]
[Bild 3 (Beispiel für die Ausbildung der Endkappe) nicht enthalten]- In vorhandenen Gebäuden sind möglichst solche Kellerräume aus Schutzräume auszuwählen, in denen die Tragfähigkeit der vorhandenen Decken nicht voll ausgenutzt wird. Das wird oft bei gewölbten Decken der Fall sein.
Die vorhandenen Kellerdecken können verschiedenartig ausgebildet sein:In vielen Fällen kann es genügen, die Spannweite der Decken durch Säulen, Gurtbögen oder Zwischenwände zu verringern, um ihnen die für die Aufnahme der stellvertretenden Trümmerlasten nötige Tragfähigkeit zu geben. Die Tragfähigkeit der unter 2. genannten Ausfachungen ist besonders zu prüfen. Wenn sie unzureichend ist, können unter die alte Kellerdecke neue Kappengewölbe eingespannt werden, deren Tragfähigkeit der zu erwartenden Trümmerlast entspricht.
- als Plattendecken, wenn die Decken aus überall gleichmäßig starken Platten gebildet werden (Steineisendecken, Betonplattendecken),
- als Gerippedecken, wenn die Decken aus einem Gerippe von Trägern bzw. Tragbalken oder Gurtbögen gebildet werden, die mit Platten oder Kappen ausgefacht sind,
- als Balkendecken, wenn die Decken durch dicht an dicht verlegte Balken gebildet werden.
2. Schutzraumwände
Auf die sorgsame Ausführung der Aussteifung des Schutzraumes ist größter Wert zu legen.
Die Widerstandfähigkeit der Außenwände der Schutzräume wird durch die Aussteifung der sich zwischen sie spannenden waagerechten Tragglieder (Decke und Fußboden) und senkrechten Tragglieder (Zwischenwände oder Zwischenpfeilerreihen) beträchtlich erhöht.
Die Wände des Schutzraumes müssen den Horizontalschub der zwischen sie gespannten Gewölbedecken aufnehmen können, auch dann, wenn diese Wände beim Zusammensturz der Gebäude ihre Auflast verlieren.
Wenn mehrere Kappen oder Tonnen so aneinander anschließen, daß bei ungleichmäßiger Lastverteilung der Ausgleich der Horizontalschübe nicht gesichert ist, müssen in Verbindung mit den Gewölben steife Quermauern als Aussteifungsscheiben in Abständen (in Richtung der Tonnenlänge gemessen) von nicht mehr als der 2½fachen Gewölbelichtweite vorhanden sein. Diese Aussteifungswände müssen mit den Widerlagern im Verband stehen.
Damit die Außenwände die zur Aufnahme des Horizontalschubes nötige Scherfestigkeit nicht einbüßen, darf die übliche Absperrung des ausgehenden Mauerwerkes gegen aufsteigende Feuchtigkeit unterhalb der Gewölbekämpfer nicht durch Einlage von weichen Sperrschichten (Dachpappe) erfolgen, sondern nur durch Anordnung von scherfesten Mörtelschichten mit Dichtungszusatz. Die inneren Wände des Schutzraumes, zwischen die sich Kappen spannen, können in durch Gurtbögen verbundene Pfeilerreihen entsprechender Stärke aufgelöst werden.
In vorhandenen Gebäuden können Schutzraumwände durch Mauervorlagen verstärkt werden, um sie gegen die auftretenden Schubkräfte widerstandsfähig zu machen.
II. Bemessung der Bauteile stahlarmer und stahlloser Schutzräume
1. Schutzraumbauweise in Beton
[Abschnitt ohne Abschrift]
2. Schutzraumbauweise in Ziegelmauerwerk
[Abschnitt ohne Abschrift]
III. Abschlüsse der Wandöffnungen stahlarmer und stahlloser Schutzräume
1. Gasdichtigkeit
Gasdichte Türen und Fensterblenden können, sofern Stahl nicht zur Verfügung steht, aus Holz oder anderen Baustoffen hergestellt werden. Sie müssen den Vorschriften und Grundsätzen der DIN-Vornorm 4104 genügen.
2. Splittersicherheit
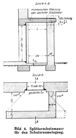
Steht Stahl nicht zur Verfügung, so können Außentüren, Notausstiege und Fenster gegen Bombensplitter durch eine in geringem Abstand vorgesetzte Splitterschutzmauer geschützt werden (vgl. Bild 4).
Splitterschutzmauern sind wie folgt zu bemessen:
Liegt die Oberkante der Außentür oder des Notausstieges unter Erdgleiche, so kann ein Splitterschutz durch eine splittersichere Überdeckung des Zugangs geschaffen werden, z.B. durch Anordnung einer Betonplatte (vgl. Bild 5).
- Ziegelmauerwerk:
- in verlängertem Zementmörtel oder in Mörtel aus Wasserkalk ..... 38cm dick
- Stampfbeton-Mauerwerk:
- mit mindestens 200kg Zement je Kubikmeter fertigen Betons ..... 20cm dick.
- Eisenbetonwände:
- mit der statisch erforderlichen Bewehrung, einer Hauptbewehrung von nicht weniger als 0,5 v.H. des Betonquerschnitts und mit einem Mischungsverhältnis von 300kg Zement je Kubikmeter fertigen Betons nach DIN 1045 ..... 15cm dick.
Fenster sind gegen Splitter zu schützen durch Tieferlegen bis unter Erdgleiche oder durch Heraufziehen der Lichtschachtmauern bis über Fensteroberkante (vgl. Bild 6).
Im Bild 4,5 und 6 sind die notwendigen Mindestüberdeckungen der Tür- und Fensteröffnungen durch Splitterschutzmauern angegeben.
Im Auftrage:
gez. Großkreutz

